|
| |
| 联系方式 |
|
地址:无锡市胡埭镇
手机:许经理 13814264314
秦经理 13906180154
电话:+86-510-85596735
传真:+86-0510-85596958
网址:www.wxhhgk.com |
|
|
|
| |
产品中心 |
主页导航 >> 产品中心 |
|
| 液压站 |
 |
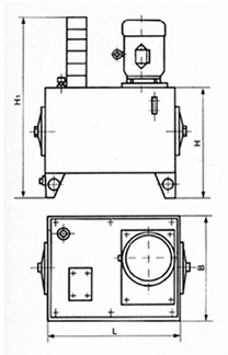
| 标记示例:泵装置上置立式,油箱容量160升,采用单级叶片泵,电机功率2.2千瓦,工作压力6.3MPa集成块式的液压站。可标为:YZL160-D2.2
|
| ●YZL上置立式液压站外形尺寸图
|
|
外形尺寸
|
|
油箱容量
|
25
|
40
|
63
|
100
|
160
|
250
|
400
|
630
|
800
|
|
L
|
-
|
700
|
800
|
900
|
1000
|
1200
|
1300
|
|
B
|
-
|
500
|
600
|
700
|
800
|
900
|
1000
|
|
N
|
-
|
520
|
600
|
700
|
850
|
930
|
970
|
| H1尺寸根据集成块多少而定。 |
|
|
|  |
|
|
| |
|